Patents
- Home >
- Technologies >
-
Small Modular Nuclear Reactor Integrated Energy Systems For Energy Production An...
PATENT
Small Modular Nuclear Reactor Integrated Energy Systems For Energy Production And Green Industrial Applications

US
Status: Submitted
- Small Modular Nuclear Reactor
- Integrated Energy Systems
- Green Industrial Applications
- Carbon Emissions Reduction
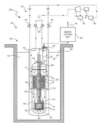
Integrated energy systems, such as for use in green industrial processes that produce few or no carbon emissions, and associated devices and methods are described herein. A representative integrated energy system can include a power plant system having multiple modular nuclear reactors. The nuclear reactors can generate steam for direct industrial use or for use in an electrical power conversion system to generate electricity. Individual ones of the nuclear reactors can be configured to flexibly generate differing outputs of steam or electricity based on the vary requirements of the industrial processes of the integrated energy system. The industrial processes can include, for example, the production of hydrogen, oxygen, nitrogen, ammonia, urea, sulfur, sulfuric acid, and/or other useful chemicals.

To view more project details and submit an expression of interest
Explore more projects
Solutions to Business Technological Challenges
-
-
PATENT
29 Nov 2022
Ali EmadiHamilton
- Reluctance motor
- Salient teeth
- Magnetic flux
- Concentrated coil windings
-