Patents
- Home >
- Technologies >
-
Brain-Computer Interface Platform And Process For Classification Of Covert Speec...
PATENT
Brain-Computer Interface Platform And Process For Classification Of Covert Speech
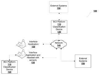
A device and method are provided for real-time classification of covert speech. The device comprises a plurality of sensors for capturing real-time bio-signal data for brain monitoring in response to mental tasks delivered to a user, and a brain computer interface with memory storing instructions to configure a processor to perform a method of real-time classification of covert speech. The method comprises capturing real-time bio-signal data for brain monitoring in response to mental tasks delivered to a user, pre-processing the raw bio-signal data, extracting a vector of features from the raw bio-signal data, selecting features from the vector of features, building classification model to generate classified covert speech data using the selected features, and controlling a display device with visual elements based on the classified covert speech data.

To view more project details and submit an expression of interest
Explore more projects
Solutions to Business Technological Challenges
-
PATENT
21 May 2019
- Drilling & Grouting
- drilling tool
- vibration assisted
- vard tool
-
PATENT
14 Sep 2023
Jose ReyesUS
- Small Modular Nuclear Reactor
- Integrated Energy Systems
- Green Industrial Applications
- Carbon Emissions Reduction
-